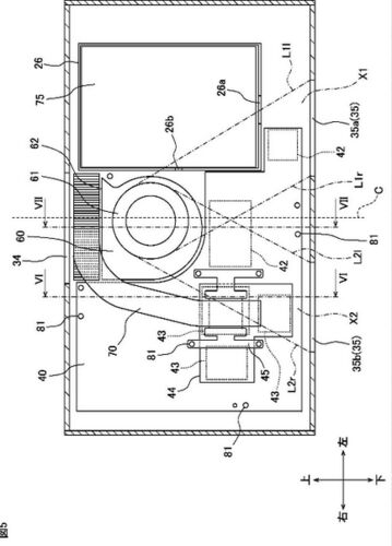
5月にSwitch2のコントローラの特許を紹介するエントリを書いたとき、1つ気にはなったがスルーしていたものがあった。 【公開番号】特開2025-11717(P2025-11717A) 【公開日】令和7年1月24日(2025.1.24) 【発明の名称】電子機器 【請求項の数】15 【全頁数】27…
引用をストックしました
引用するにはまずログインしてください
引用をストックできませんでした。再度お試しください
限定公開記事のため引用できません。